文档
护理教育云平台用户手册
1. 生产地址
1.1 管理端地址
1.2 小程序名称
2. 培训考试
2.1 用户登录
★功能描述:此功能根据超级管理员、项目管理员,登录之后显示不同的操作界面。
★页面展示
- 系统登录,如图:

2.输入用户名、密码、验证码后登录,如图:

2.2 培训列表
2.2.1 培训计划
★基本信息功能描述:我的计划、计划列表是本人及以上权限可以查看,院内计划所有人都可以查看。
★页面展示:

★新建计划功能描述:基础信息包括计划名称、计划描述、年份及级别(院区/科室/病区),计划大纲可以按培训时间(月份)一次新增多个计划。
★页面展示:

★列表功能描述:新增的培训计划点击发布,在计划列表才能查看,并可以添加对应的培训课程;培训计划被分享之后全院都可以查看。
★发布页面展示:

★添加培训课程页面展示:

★分享页面展示:

2.2.2 培训中心
2.2.2.1 培训课程
★基本信息功能描述:我的课程的界面可以新建课程,新建课程成功之后,可以将课程分享到院内使用。
复制:点击复制可以复制一份课程修改其中的内容,成为一份新的课程。
布置:布置课程作业给学员观看课程内容。
分享:分享课程到院内可供其他人使用。
详情:可查看课程具体内容。
★页面展示:

★创建课程功能描述:输入课程基本信息,添加课件(音频、视频、pdf、word等),添加课后作业创建新的课程。
★页面展示:

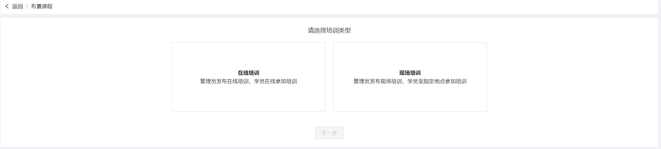
★布置功能描述:布置课程可以选择在线培训和现场培训。
★页面展示:

★在线培训功能描述:输入基本信息,添加培训讲师,选择对应参与人员,在小程序上面在培训时间内容可以学习培训课件,答课后作业。
★页面展示:

★现场培训功能描述:输入基本信息,添加培训讲师,输入培训场次(可多场培训),设置是否签到,选择对应参与人员,小程序上面学员可以选择要参加的培训场次,去现场签到参加培训。
★页面展示:

2.2.2.2 培训列表
★基本信息功能描述:培训列表包含我的培训、培训列表、院内培训和我主讲的培训。
我的培训:四个状态包含未开始、进行中、已结束和已撤销。
分享:分享后的培训可以在院内查看。
编辑:未开始的培训可以编辑其中的内容。
删除:未开始的培训可以删除。
撤销布置:未开始的培训可以撤销。
详情:可查看培训具体内容。
★页面展示:

★在线培训详情功能描述:展示在线培训的基本信息,扫培训二维码可分享给院内其他学员学习。
参与人员:可查看学员学习情况。 培训课件:查看课件内容。
培训评论:查看学员对于此次培训课程的留言,培训老师可以针对性回复。
★页面展示:

★现场培训详情功能描述:展示现场培训的基本信息,扫培训二维码可分享给院内其他学员学习,培训场次的二维码和签到设置的详细内容。
参与人员:可查看学员学习情况。 培训课件:查看课件内容。
课后作业:测验人员针对此次培训进行的答题情况。
培训评论:查看学员对于此次培训课程的留言,培训老师可以针对性回复。
★页面展示:

2.2.3 类别管理
★基本信息功能描述:可添加课件类别和培训类别。
★页面展示:

2.2.4 统计分析
2.2.4.1 线上培训分析
★基本信息功能描述:展示已结束的线上培训整体分析结果。
★页面展示:

2.2.4.2 线下培训分析
★基本信息功能描述:展示已结束的线下培训整体分析结果。
★页面展示:

2.2.5 课件管理
★基本信息功能描述:上传的课件支持音频、视频、pdf、图片等。
预览:点击预览可以查看上传的内容。
复制:复制同样一份上传的内容。
编辑:修改上传内容的参数。
删除:删除上传的内容(已使用的无法删除)。
发布:发布之后在课件列表可以查看,在创建课程的时候可以使用。
取消发布:未被使用的课件可以取消发布。
分享:分享到院内所有人都可以使用。
★页面展示:

2.3 考试列表
2.3.1 考试计划
★基本信息功能描述:我的计划、计划列表是本人及以上权限可以查看,院内计划所有人都可以查看。
★页面展示:

★新建计划功能描述:基础信息包括计划名称、计划描述、年份及级别(院区/科室/病区),计划大纲可以按考试时间(月份)一次新增多个计划。
★页面展示:

★列表功能描述:新增的考试计划点击发布,在计划列表才能查看,并可以添加对应的考试;考试计划被分享之后全院都可以查看。
★发布页面展示:

★添加考试页面展示:

★选择试卷页面展示:

2.3.2 考试中心
2.3.2.1 模拟练习
★基本信息功能描述:我的试卷、试卷列表是本人及以上权限可以查看,院内计划所有人都可以查看,我的练习是我发布的练习可以查看明细。
发布:点击发布试卷列表可以查看。
取消发布:未使用的可以撤销发布。
分享:点击分享分享到院内试卷所有人都可以查看。
取消分享:未使用的可以取消分享。
复制:复制一份相同的练习题进行按需修改。
布置:选择参与练习的人员,小程序进行习题练习。
编辑:未使用的试卷才允许修改。
删除:未使用的试卷才允许删除。
详情:查看试卷详细信息。
★页面展示:

★创建练习功能描述:输入练习名称、练习描述,添加题型(单选、多选、判断题、填空题、问答题、共用题干题),也可选择随机选题。
★创建练习页面展示:

★随机选题页面展示:

★练习发布页面展示:

★我的练习功能描述:有未开始、进行中、已结束、已撤销四种状态。
未开始:布置的练习在未到开始之前在未开始界面可以查看。
进行中:在练习时间之内。
已结束:在练习结束之后。
已撤销:未开始的练习试卷被撤销。
详情:展示所有参与练习的人员的练习详情。
★页面展示:

★练习详情展示:

★试题详情展示:

2.3.2.2 理论考试
★基本信息功能描述:包含我的试卷、试卷列表、院内试卷、我的考试、考试列表、我的监考。
发布:点击发布,试卷列表可以查看。
取消发布:未使用的可以撤销发布。
分享:点击分享,分享到院内试卷,所有人都可以查看。
取消分享:未使用的可以取消分享。
复制:复制一份相同的试卷进行按需修改。
布置:选择参与考试的人员。
编辑:未使用的试卷才允许修改。
删除:未使用的试卷才允许删除。
详情:查看试卷详细信息。
★页面展示:

★创建试卷功能描述:输入试卷名称、试卷描述,添加题型(单选、多选、判断题、填空题、问答题、共用题干题),也可选择随机选题。
★页面展示:

★我的考试功能描述:有未开始、进行中、已结束、已撤销四种状态。
未开始:布置的考试在未到开始之前在未开始界面可以查看。
进行中:在考试时间之内。
已结束:在考试结束之后。
已撤销:未开始的考试试卷允许被撤销。
详情:展示所有参与考试人员的考试详情。
★页面展示:

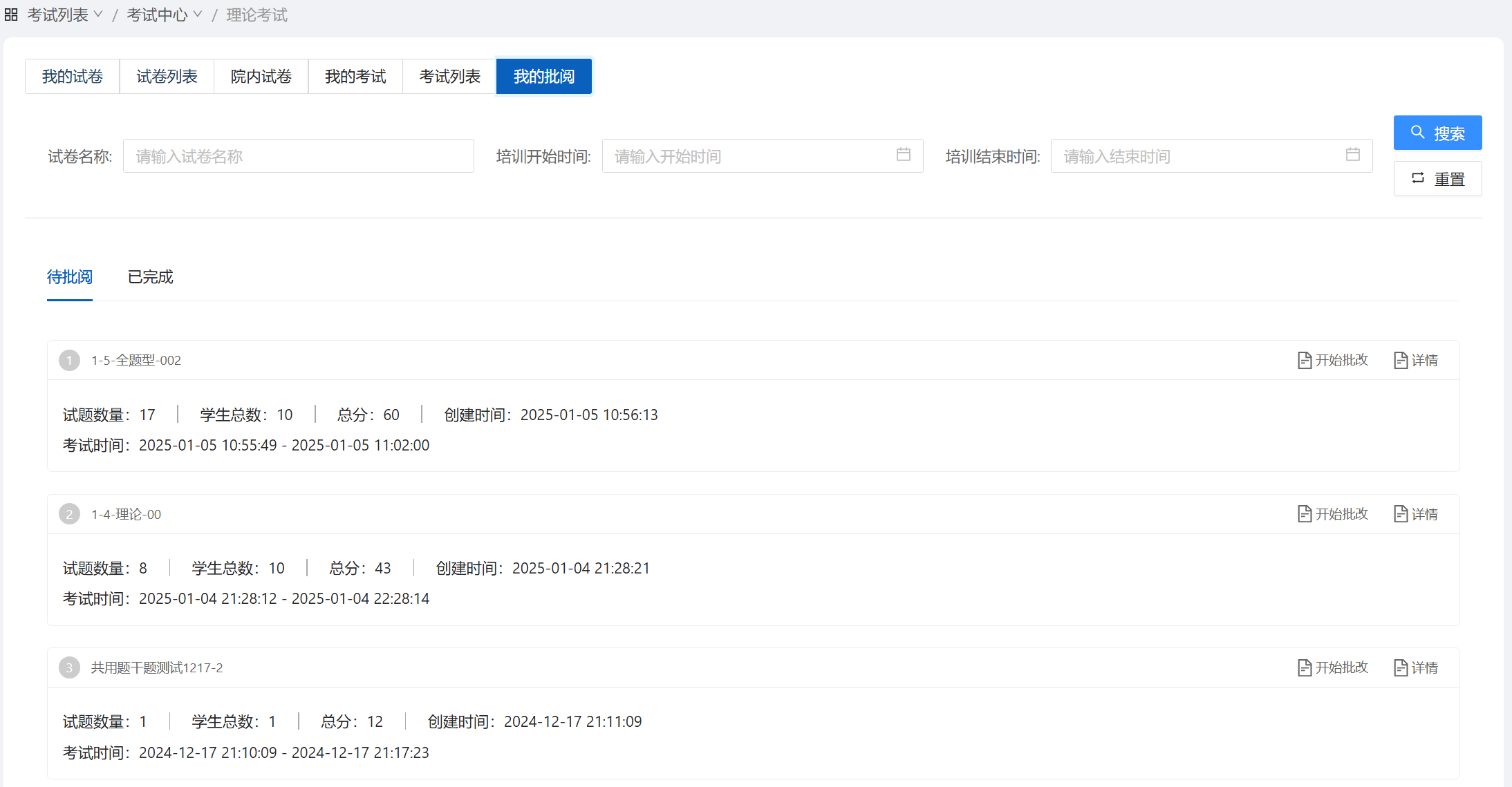
★我的监考功能描述:我的批阅可以对已结束的考试有主观试题的对学生作答进行批改。
★页面展示:

★批改页面展示:

★考试详情页面展示:

2.3.2.3 操作考试
★基本信息功能描述:包含我的试卷、试卷列表、院内试卷、我的考试、考试列表、我的监考。
发布:点击发布,试卷列表可以查看。
取消发布:未使用的可以撤销发布。
分享:点击分享,分享到院内试卷,所有人都可以查看。
取消分享:未使用的可以取消分享。
复制:复制一份相同的试卷进行按需修改。
布置:选择参与考试的人员。
编辑:未使用的试卷才允许修改。
删除:未使用的试卷才允许删除。
详情:查看试卷详细信息。
★页面展示:

★创建试卷功能描述:输入评分表名称、评分表描述,添加评分内容。
★页面展示:

★我的考试功能描述:有未开始、进行中、已结束、已撤销四种状态。
未开始:布置的考试在未到开始之前在未开始界面可以查看。
进行中:在考试时间之内。
已结束:在考试结束之后。
已撤销:未开始的考试试卷允许被撤销。
详情:展示所有参与考试人员的考试详情。
★页面展示:

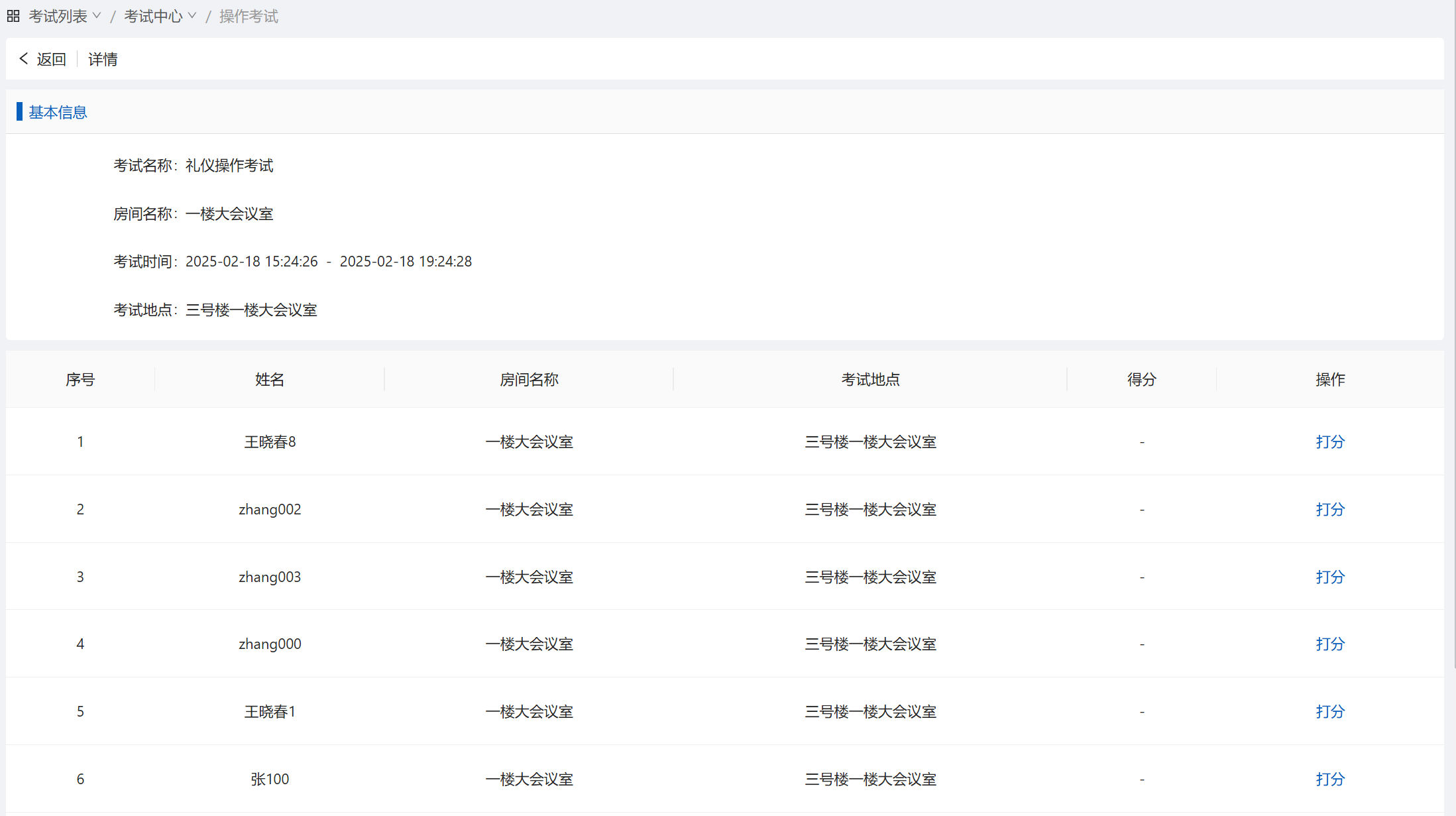
★我的监考功能描述:操作考试进行中的可以进行打分。
★页面展示:

★打分人员页面展示:

★打分页面展示:

2.3.3 统计分析
2.3.3.1 理论考试分析
★基本信息功能描述:展示已结束的理论考试整体分析结果。
★页面展示:

2.3.3.2 操作考试分析
★基本信息功能描述:展示已结束的操作考试整体分析结果。
★页面展示:

2.3.4 题库管理
2.3.4.1 公共题库
★基本信息功能描述:可按题型、科目、层级、学科、试题来源查询所需试题。
★页面展示:

2.3.4.2 自建题库
★基本信息功能描述:包含我的题库、院内分享。
模板下载:下载试题模板。
导入题库:根据下载的模板,录入试题可以导入题库(每次上限100)。
分享:点击分享到院内所有人都可以查看使用。
取消分享:未使用的可以取消分享。
编辑:编辑内可以选择是否发布。
删除:未使用的试题才允许删除。
详情:查看试题详细信息。
★页面展示:

★创建试题功能描述:包含单选、多选、判断、填空、问答、共享题干。 显示富文本编辑栏:支持图片、字体样式等。
★页面展示:

2.3.4.3 评分表
★基本信息功能描述:包含我的评分表、评分表列表、院内评分表。
发布:点击发布评分表,评分表列表可以查看。
取消发布:未使用的可以撤销发布。
分享:点击分享分享到院内评分表所有人都可以查看。
取消分享:未使用的可以取消分享。
复制:复制一份相同的评分表进行按需修改。
编辑:未使用的评分表才允许修改。
删除:未使用的评分表才允许删除。
详情:查看评分表详细信息。
★页面展示:

★新增评分表页面展示:

2.3.5 类别管理
★基本信息功能描述:可添加理论考试类别和操作考试类别。
★页面展示:

3. 组织权限
3.1组织管理
3.1.1 部门管理
★基本信息功能描述:新增部门及子部门。
★页面展示:

3.1.2 岗位管理
★基本信息功能描述:岗位归属在部门下。
★页面展示:

★角色分配功能描述:可给岗位分配不同的角色。
★页面展示:

3.1.3 员工管理
★基本信息功能描述:包含组织列表和用户列表。
模板下载:下载用户导入模板。
导入人员:根据下载的模板,导入用户信息。
★页面展示:

★新增用户功能描述:选择对应的岗位信息、录入人员基本信息。
★页面展示:

3.2 权限管理
★基本信息功能描述:通常有三种数据权限范围本部门及以下数据权限、本部门数据权限、仅本人数据权限。
★页面展示:

3.3 公告管理
★基本信息功能描述:录入公告标题和内容在仪表盘和小程序可以看到此公告。
★页面展示:

4. 系统监控
4.1 在线用户
★基本信息功能描述:显示登录系统的用户。
★页面展示:

4.2 日志管理
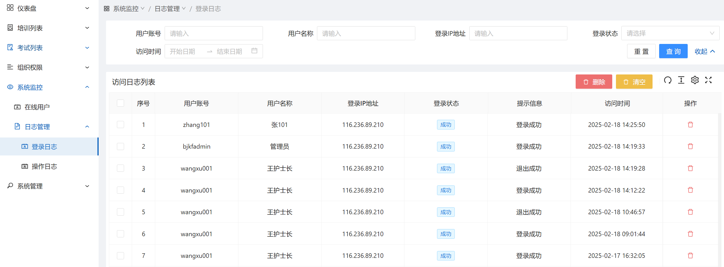
4.2.1 登录日志
★基本信息功能描述:显示登录系统的用户的日志信息。
★页面展示:

4.2.2 操作日志
★基本信息功能描述:显示用户的操作信息。
★页面展示:

5. 小程序
5.1 首页
★基本信息功能描述:个人信息、理论考试、报名等快捷入口。
★页面展示:

5.2 用户中心
★基本信息功能描述:显示个人信息、试题收藏、我的错题、考场信息等。
★页面展示:
